Kappenventile

AFRISO Kappenventil G3/4 x G3/4 mit Ablasshahn VOR 107840 107850 object_image_56380imagemain_dech AFRISO Kappenventil G3/4 x G3/4 mit Ablasshahn VOR 107840 107850 object_image_56380imagemain_dech
Kappenventil G3/4 x G3/4 mit Ablasshahn
AFRISO Kappenventil G3/4 x G3/4 mit Ablasshahn VOR 107840 107850 object_image_56380imagemain_dech
AFRISO Kappenventil G3/4 x G3/4 mit integriertem KFE-Hahn VOR 107870 107880 AFRISO Kappenventil G3/4 x G3/4 mit integriertem KFE-Hahn VOR 107870 107880
Kappenventil G3/4 x G3/4 mit integriertem KFE-Hahn
AFRISO Kappenventil G3/4 x G3/4 mit integriertem KFE-Hahn VOR 107870 107880
AFRISO Plombier-Set Ersatzteil zu Kappenventil VOR 7480 AFRISO Plombier-Set Ersatzteil zu Kappenventil VOR 7480
Plombier-Set Ersatzteil zu Kappenventil
AFRISO Plombier-Set Ersatzteil zu Kappenventil VOR 7480
AFRISO Kappenventil G3/4 x G3/4 mit Ablasshahn ANW 107840 107850 AFRISO Kappenventil G3/4 x G3/4 mit Ablasshahn ANW 107840 107850
Kappenventil G3/4 x G3/4 mit Ablasshahn
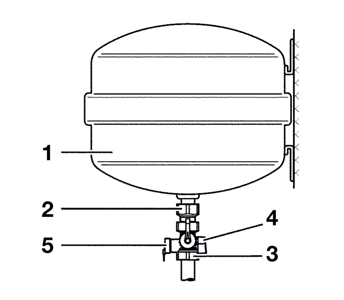
AFRISO Kappenventil G3/4 x G3/4 mit Ablasshahn ANW 107840 107850 <div class="gallery-information"> <b>Legende:</b> <ol> <li>Membran-Ausdehnungsgefäß</li> <li>Verschraubung</li> <li>Kappenventil</li> <li>Ablasshahn mit Schlauchanschluss</li> <li>Kappe mit Plombe und Draht</li> </ol> </div>
AFRISO Kappenventil G3/4 x G3/4 mit integriertem KFE-Hahn ANW 107870 107880 AFRISO Kappenventil G3/4 x G3/4 mit integriertem KFE-Hahn ANW 107870 107880
Kappenventil G3/4 x G3/4 mit integriertem KFE-Hahn
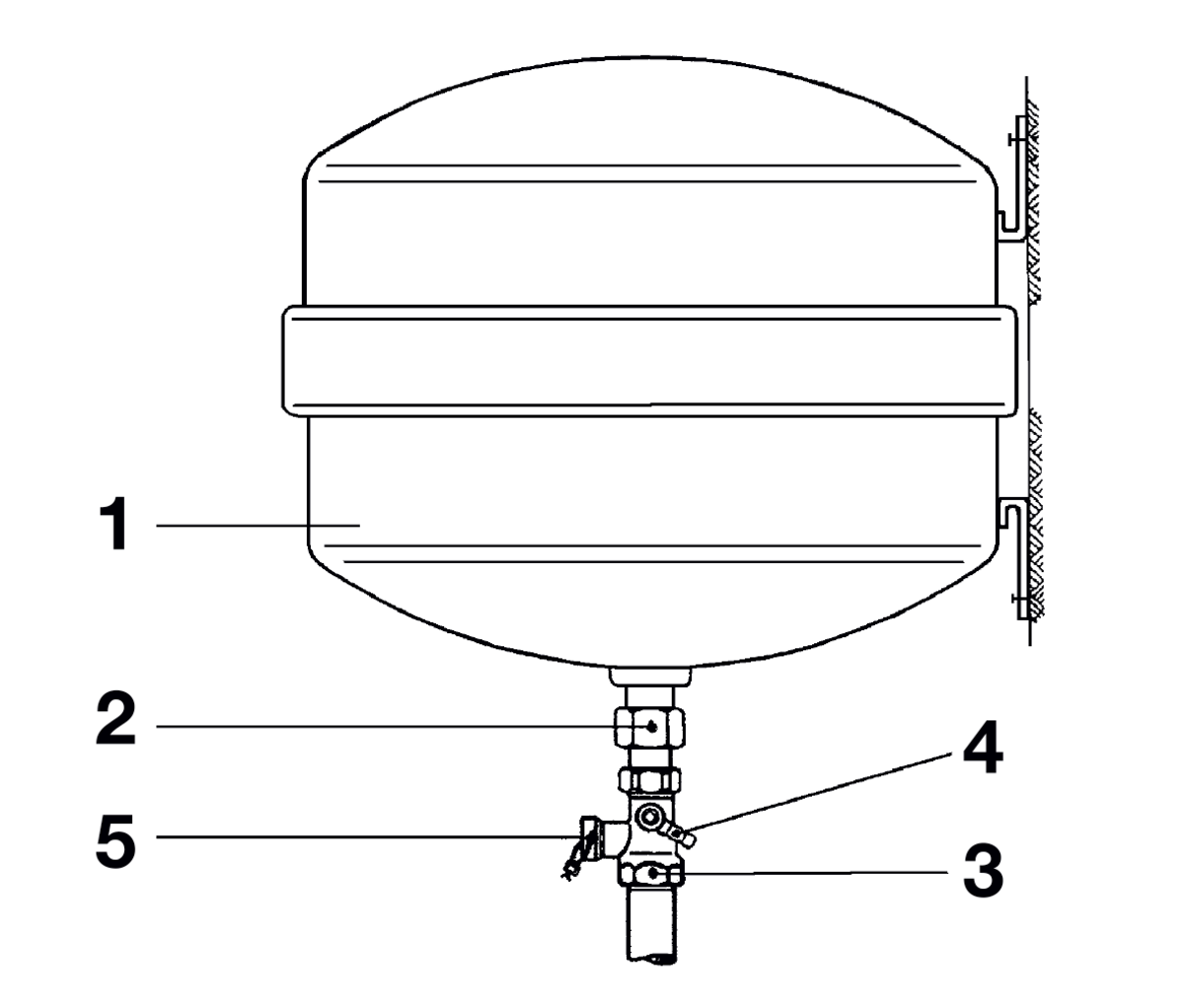
AFRISO Kappenventil G3/4 x G3/4 mit integriertem KFE-Hahn ANW 107870 107880 <div class="gallery-information"> <b>Legende:</b> <ol> <li>Membran-Ausdehnungsgefäß</li> <li>Verschraubung</li> <li>Kappenventil</li> <li>KFE-Hahn, G¾ Eurokonus</li> <li>Kappe mit Plombe und Draht</li> </ol> </div>
AFRISO Kappenventil G3/4 x G3/4 mit Ablasshahn VOR 107840 107850 object_image_56380imagemain_dech
AFRISO Kappenventil G3/4 x G3/4 mit integriertem KFE-Hahn VOR 107870 107880
AFRISO Plombier-Set Ersatzteil zu Kappenventil VOR 7480
AFRISO Kappenventil G3/4 x G3/4 mit Ablasshahn ANW 107840 107850
AFRISO Kappenventil G3/4 x G3/4 mit integriertem KFE-Hahn ANW 107870 107880
Datenblatt Kappenventile
AFRISO Datenblatt Kappenventile

Ausführungen

Art.-Nr. Merken
Kappenventil G¾ x G¾ mit Ablasshahn 77924
Kappenventil G1 x G1 mit Ablasshahn 77934
Kappenventil G¾ x G¾ mit integriertem KFE-Hahn G¾ 77949
Kappenventil G1 x G1 mit integriertem KFE-Hahn G¾ 77950
Ersatzteil Plomier-Set 77493

Blaue Art.-Nr. = Lagerware

Beschreibung Format Sprache Download / Link
Datenblatt Kappenventile Datenblatt PDF
AFRISO Datenblatt Kappenventile
Kappenventil G¾ Betriebsanleitung PDF
AFRISO Kappenventil G¾
Kappenventil G1 Betriebsanleitung PDF
AFRISO Kappenventil G1
Kappenventil G¾ mit KFE-Hahn Betriebsanleitung PDF
AFRISO Kappenventil G¾ mit KFE-Hahn
Kappenventil G1 mit KFE-Hahn Betriebsanleitung PDF
AFRISO Kappenventil G1 mit KFE-Hahn
Kappenventil mit Anschlussverschraubung G¾ x G¾ oder G1 x G1. Das Absperrventil ist mit Kappe und Plombe gegen unbeabsichtigtes Schließen gesichert. Ventilbetätigung über Standard-Vierkantschlüssel SW5 für Heizkörper-Entlüftungsventile. Bei der vorgeschriebenen Funktionsprüfung oder bei Austausch kann das Ausdehnungsgefäß gegen die Heizungsanlage abgesperrt und am Ablasshahn entleert werden.
Betriebsdruck
Max. 10 bar
Temperatureinsatzbereich
Medium:
0/120 °C
Anschlüsse
Eingang x Ausgang:
G¾ x G¾, G1 x G1
KFE-Hahn:
G¾ AG Eurokonus
Entleerleistung
Kvs
Kappenventil mit Ablasshahn:
0,5 m³/h
Kappenventil mit KFE-Hahn:
1,5 m³/h